污水闸门系列当前位置:首页>app江南 >污水闸门系列>配水闸阀
产品名称;配水闸阀
产品型号;PZ2
驱动方式:手动、伞齿轮、电动、气动、电液动
配水闸阀作用
1、本系列产品是直角式闸阀,可承受0.1Mpa的压力。主要用于矿山井下各吸水井配水,也可用于选矿、水处理水池泄水。水中不含有腐蚀性的介质,水温不大于80℃。
2、型号意义:
如:PZ2-400
PZ2-配水闸阀
400-公称直径
3、本系列产品所执行的标准是:企业标准Q/BBC-007-91《配水闸阀》。
产品简介
PZ2型配水闸阀结构说明
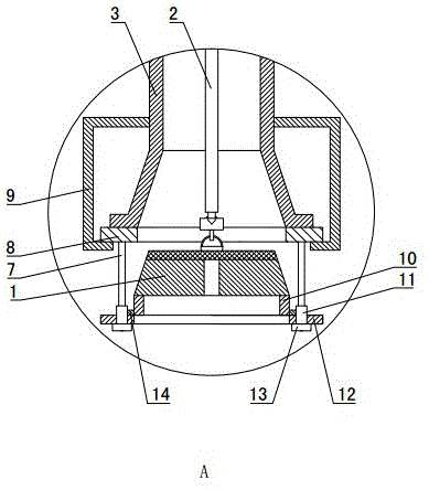
1、配水闸阀由操纵台、连接杆、阀杆、闸阀、短管等部件组成。
2、PZ2型用小型电动机作为动力源替代人工操作,方便、快捷。
3、闸阀由阀体和阀瓣构成。
(1)闸体为焊接件,下部装有一锥形密封环,与阀瓣共同构成密封部分。
(2)阀瓣由焊接件与橡胶垫构成,通过带环螺钉组件与阀杆绞接,以保证阀的密封性能。
4、短管用于埋入配水井井壁,为焊接件。
5、连接杆的长度由配水井底板至泵房底板的高度差来确定。分为5米、4.5米、4米、3.5米四种规格。用户也可以按实际安装高度确定连接杆的长度,按需定制。
企业承诺:质量全面实行三包。欢迎新老客户,来电、来人、来函洽谈。
来图来样定样非标阀门,别人没有的、或许我们有。可以点击右下角的咨询客服,收到信息后,我们将在24小时内尽快与您取得联系!
产品详情
配水闸门的概述:
本系列产品是直角式闸阀,可承受0.1MPa的压力。主要用于矿山井下各吸水井配水,也可用于选矿、水处理水池泄水。水中不含有腐蚀性的介质,水温不大于80度。配水闸门根据工作方式分为手动(PZ-1型)和电动(PZ-TT)。配水闸阀的启闭件是闸板,闸板的运动方向与流体方向相垂直,闸阀只能作全开和全关 , 不能作调节和节流。配水闸门闸阀关闭时 , 密封面可以只依靠介质压力来密封 ,即依靠介质压力将闸板的密封面压向另一侧的阀座来保证密封面的密封,这就是自密封。
大部分闸阀是采用强制密封的 ,即阀门关闭时,要依靠外力强行将闸板压向阀座 , 以保证密封面的密封性。闸阀的闸板随阀杆一起作直线运动的,叫升降杆闸阀 亦叫明杆闸阀。通常在升降杆上有梯形螺纹,通过阀门顶端的螺母以及阀体上的导槽,将旋转运动变为直线运动 , 也就是将操作转矩变为操作推力。
开启阀门时,当闸板提升高度等于阀门通径的1:1倍时,流体的通道完全畅通,但在运行时,此位置是无法监视的。实际使用时,是以阀杆的顶点作为标志,即开不动的位置,作为它的全开位置。为考虑温度变化出现锁死现象, 通常在开到顶点位置上 , 再倒回 1/2-1圈 , 作为全开阀门的位置。因此 ,阀门的全开位置,按闸板的位置(即行程>来确定。有的闸阀 , 阀杆螺母设在闸板上,手轮转动带动阀杆转动 , 而使闸板提升 , 这种阀门叫做旋转杆闸阀或叫暗杆闸阀。
选择一款适合的配水闸阀,应根据排水系统的规定,从输送液体的量,安装头,配管的液体性质和操作条件和等几个方面必须考虑。
1、流动阻力小。阀体内部介质通道是直通的,介质成直线流动,流动阻力小。
2、启闭时较省力。是与截止阀相比而言,因为无论是开或闭,闸板运动方向均与介质流动方 向相垂直。
3、高度大,启闭时间长。闸板的启闭行程较大,降是通过螺杆进行的。
4、水锤现象不易产生。原因是关闭时间长。
5、介质可向两侧任意方向流动,易于安装。闸阀通道两侧是对称的。
6、结构长度(系壳体两连接端面之间的距离)较小。
7、密封面易磨损,影响使用寿命。启闭时,闸板与阀座两个密封面相互摩擦滑动,要介质压力作用下易产生擦伤磨损,影响密封性能,缩短使用寿命。
8、价格较贵。接触密封面较多,加工较复杂,特别是闸板座上的密封面不易加工,而且零件较多。
9、形体简单 , 结构长度短,制造工艺性好,适用范围广。
10、结构紧凑,阀门刚性好,通道流畅,流阻数小,密封面采用不锈钢和硬质合金,使用寿命长,采用PTFE填料,密封可靠,操作轻便灵活。
主要特矿用防爆电动配水闸阀点及用途
PXW系列矿用配水阀是在原PZ1型的基础上进行了改良设计;PXW-II型是在改良设计的基础上增加矿用阀门电动装置,来满足煤矿水泵房无人值班,全自动化生产的需求。
PXW系列矿用配水阀具有结构简单、密封性能好、清污方便、操作灵活、省力等特点,主要应用于井下泵房吸水井的配水之用。(I型为手动操作)

配水闸阀结构图
与现有技术相比,本实用新型的矿用配水闸阀的有益效果是:
1、导向机构能够对阀芯的运动进行导向,使阀芯仅仅沿轴向移动,避免阀芯的轴线在移动过程中相对与阀体发生偏移,从而导致阀芯在运动时与阀体碰撞,影响阀芯和阀体的使用寿命;多个导向机构环绕阀芯设置,从而使阀芯在运动时始终与阀体同轴,保持阀芯关闭严密,避免出现阀芯脱落、阀芯封胶垫损坏等问题,使用寿命长,大大降低了维修频率。
2、套管滑动套设在导向杆上,从而对导向杆进行导向,结构简单,导向效果好。
3、导向机构设置在加强筋与阀体之间,不会妨碍阀芯的移动,加强筋还能够加强阀芯
的强度,提高了阀芯的使用寿命。
4、导向机构安装在安装环上,安装环通过安装钩安装在阀体上,拆装简单,并且可以在现有的配水闸阀上支架改进,不需要整体更换整个配水闸阀,降低了成本。
江南体育平台百家乐